Table of Contents
Fuga de aceite o refrigerante por la junta de culata
Reapretado de tornillos
Los Saab 9-3 y 9-5 MY99 con motores de 4 cilindros sufren de fugas externas de aceite y refrigerante debido a un problema de estiramiento de tornillos (defectuosos).
Este procedimiento es válido para todos los motores que tienen una fuga de aceite o refrigerante pero que no tienen sobrecalentamiento ni ningún otro problema de ningún tipo (es decir, la junta de culata está intacta), generalmente solo es necesario reapretar los tornillos o cambiar los estirados, el cambio de junta de culata no será necesario en la mayoría de casos.
El procedimiento abajo descrito solo debe de realizarse de tornillo en tornillo, NUNCA QUITAR MAS DE UN TORNILLO A LA VEZ.
NOTA: El motor debe de estar frío cuando se reapriete, saab recomienda que se deje enfriar durante horas.
Si algún tornillo no se pudiera apretar completamente deberá de ser reemplazado, es mas, hay muchos preparadores que recomiendan igualmente cambiar todos los tornillos.
- Desmontar el cassete de encendido. Desconectar los tubos de ventilación de la culata para poder levantar la tapa de balancines.
- Aflojar un tornillo.
- Apretar a 60Nm (44 ft.lb.).
- Dar 90 grados adicionales de apriete
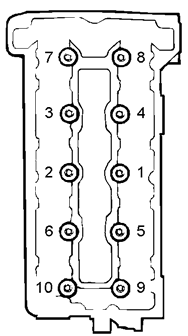
- Repetir con todos los demás tornillos el procedimiento de aflojamiento → Apriete 60Nm → Apriete 90º Adicionales siguiendo el orden de la imagen.
- Revisar niveles de aceite y refrigerante, rellenar en caso de que sea necesario
- Volver a montar todo en orden inverso, arrancar motor y realizar un análisis visual en busca de fugas.
By Taliaferro.
¿Reapretar solo o cambiar?
Por el precio que tienen los tornillos, entre 20 y 30 euros en el mercado no se recomienda reapretar, especialmente si vamos a llevar el coche a taller a realizar dicha tarea, al final el precio de la mano de obra será idéntico, se recomienda encarecidamente reemplazar todos los tornillos.
Diferencias de los tornillos empleados
Existen diferencias de los tornillos según el año. La información original de esta foto se encuentra en Saabnet
Se sabe de 4 tipos de tornillos diferentes y gracias a esto se puede acotar bastante los años afectados.
| Número | Modelo | Años de uso | Tipo | Apriete | Notas |
|---|---|---|---|---|---|
| 1 | Antiguo | 1984 - 1997 | Sin arandela | 60Nm → 80Nm → 90º | Tornillo bueno |
| 2 | Nuevo | 1997 - 2001 | Con arandela , color grisáceo | 40Nm → 60Nm → 90º | Tornillo malo |
| 3 | Nuevo mejorado | 2002 → | Con arandela, color bronce | 40Nm → 60Nm → 90º | Tornillo bueno |
| 4 | Antiguo | 2004 - 2004 | Sin arandela, color negro | 40Nm → 60Nm → 90º | Tornillo bueno |
Se supone que el tornillo 3 corrige los problemas del 2, se especula que puede ser el mismo simplemente empleando mejores materiales.
El tornillo 4 se especula que puede ser de motores con tornillos número 2 defectuosos que fueron reparados con tornillos aftermarket.

